<<Назад

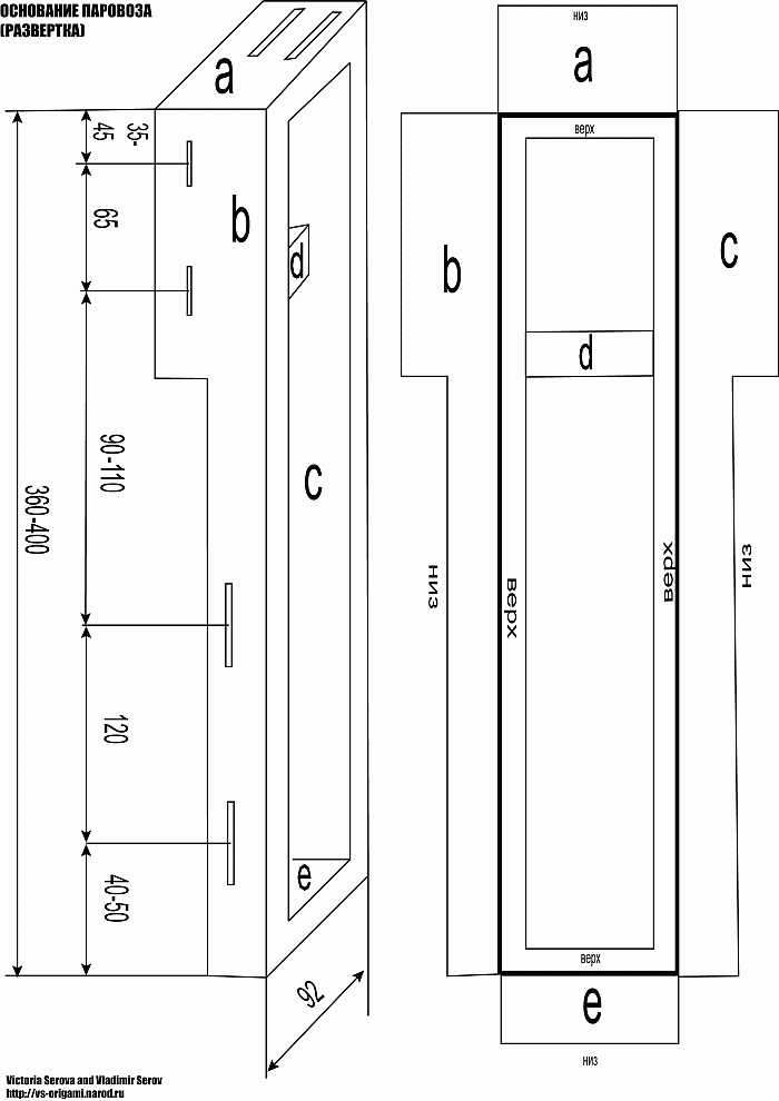
"Паровоз" Виктории и Владимира Серовых.
Схема складывания

01
01
02
02
03
03
04
04
05
05
06
06
07
07
08
08
09
09
10
10
11
11
12
12
13
13
14
14
15
15
16
16
17
17
18
18

Просим не распространять без указания автора и интернет-страницы http://vs-origami.ru
<<Назад